长时间使用电脑出现一些大大小小的问题很是正常,但是无法开机要怎么进行重装系统呢?接下来就为大家带来具体教程,感兴趣的小伙伴快来看看吧。

  1、首先我们准备一个u盘接入一个联网电脑,打开小白一键重装系统软件。(这里以Windows7 64位旗舰版举例)

无法进系统的情况下电脑怎么重装系统

  2、接着我们点击制作系统选项,点击开始制作。

无法进系统的情况下电脑怎么重装系统

  3、选择我们需要的软件点击下一步。

无法进系统的情况下电脑怎么重装系统

  4、等待系统文件下载,制作U盘启动盘会格式化U盘,所以请提前备份好U盘的资料。

无法进系统的情况下电脑怎么重装系统

  5、制作完成后,将制作好的u盘拔出即可。

无法进系统的情况下电脑怎么重装系统
无法进系统的情况下电脑怎么重装系统

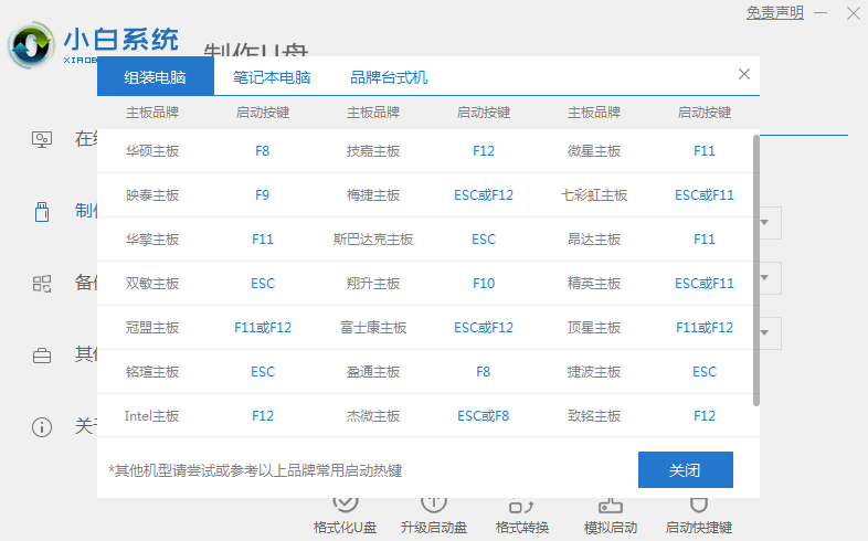
  6、重启电脑后按U盘启动热键(U盘启动热键在下面的“热键按键”板块里),选择U盘启动。这里是按 F12 进入的快速引导菜单。

无法进系统的情况下电脑怎么重装系统

  7、接着我们进入到pe系统选择,新电脑选择第一个PE进入,老电脑选择第二个PE进入。

无法进系统的情况下电脑怎么重装系统

  8、接着我们进入到pe系统,点击自己要安装的系统后面的安装按钮。

无法进系统的情况下电脑怎么重装系统

  9、接着我们等待安装完成后点击立即重启按钮。

无法进系统的情况下电脑怎么重装系统

  10、等待进入系统桌面后,就代表系统已经安装好了可以使用啦。

无法进系统的情况下电脑怎么重装系统

  以上就是无法进系统的情况下电脑怎么重装系统,希望能帮助到大家。