犯罪大师每日一题答案 最后的线索答案分享
|
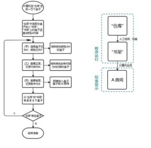
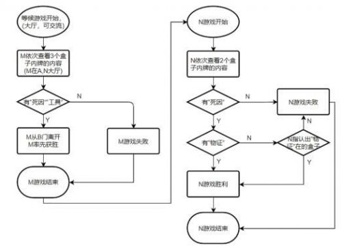
犯罪大师每天都有问题需要玩家来解答,答对可以获得奖励,今天的问题名字叫做最后的线索,此外还有一些密码破译题,有一定的难度,需要玩家来仔细思考,根据现有的线索和提示来推测出答案,下面就来跟着小编一起看看答案是什么吧。 crimaster犯罪大师最后的线索答案 《最后的线索》 奖励经验值:1500 这是M留下的盒子。”鱼老板右手伸出手,冲你比了一个八,在你眼前晃了晃。 “这次要这么多吗?”你惊讶了一下。 鱼老板是推理协会的副会长,姓余,因为总是能从奇奇怪怪的地方拉来赞助而被称为老板。因为会长经常神秘消失,现在推协都是鱼老板在负责。好在鱼老板非常能干,推协里一直流传着一句话,“没有人可以从鱼老板手里多拿一个思源币”。思源币是推协内部流通的一种货币,用来解锁内部线索和资源。 答案:1.2014 、 2.1989 、3.施寺百分之百 详细解析: 第一关 盒子上面有一行数字:44,79,11,67,39,48,88,42,32,22,75,73,18,77,33,10,07. 两侧有图案,分别如下。 左侧图案: 右侧图案: (请输入数字指引的答案四个数字) 答案:2014 解析: 1.观察发现左侧图案为小写字母与大写字母的对应关系,右侧为大写字母与数字的对应关系,最终提示为数字。因此,小写字母为明文,大写字母为一层加密,数字为二层加密。 2.根据右侧图案,将提示解密为大写字母: 根据左侧图案,六张图上角落里实心或者空心的饼状图形暗示拼接方式。从全是小写字母那张图入手解题,拼成如下图形。可以根据XWV那张图黑白饼状图形在同一侧,与其他图无法拼接,而快速认出XWV为干扰项,上面的字母与解谜结果无关,且无可对应位置。 表示黑色线路相交的时候的具体走向,遇到“十”字的图案,应该直走,不要拐弯。因此可得下表。 4.“spacebar”、“backspace”对应电脑键盘的功能。得到字符串“er ling yisi”,即是“2014”。 第二关 第一张纸条:you zhuan qi zi lai di xia shi即“右转棋子来地下室”; 第二张纸条:su she shizi mu de shun xu 即“宿舍是字母的顺序”; 你根据刚刚纸条上破译的内容,输入了M房间的密码。 (请输入房间四位数字) 答案:1989 解析: 1.根据M的笔记,总结出每一个字母所对应的图案的规律。因为已经提供了第一张纸和第二张纸的内容,可以找出每一个字母对应的图案,分析它们之间对应的规律,破译剩下的纸条。其中,第四、五、六张纸条冒号前有出现过的图形,分别是对应字母L、M、N。因为需要找M的房间密码,所以只需要破译M对应的纸条,也就是第五张。 2.根据已经有的对应关系,我们可以整理出如下表格,推理出字母和图形的对应逻辑。 1.由规律破译出纸条的内容: 1.由规律破译出纸条的内容: 得到两条线索“对联是密码”,“M:右一左七左六左七”。 1.对联上联(一去二三里烟村四五家)在右,下联(亭台六七座八九十枝花)在左。右一指右联第一个字,即“一”;左七指的左联第七个字,即“九”;左六指的左联第六个字,即“八”。所以M房间的密码是1989. 第三关 请问,施山和施寺谁更有可能获得胜利?他获得胜利的可能性是多少? 格式:施山/施寺/一样(指两个人获胜概率一样)+概率(例如:百分之十) (请输入答案例如:施山百分之十) 答案:施寺百分之百 解析: 为了描述方便,用R,Y,B,G分别表示红、黄、蓝、绿色;a,b,c,d分别表示“死因”、“工具”、“物证”、“死神”。M表示施山,N表示施寺。 理解游戏流程。 ①准备过程: 通过以上流程,最终我们可以发现:“桌面”上一共有4个盒子;颜色R,Y,B,G各一种;内容a,b,c,d各一种;数字不确定。 ①提示内容: 用(颜色+内容+数字)的形式给四个盒子编号,可以得到“书架”上的盒子为Ral,Ra2,Rb1,Yc4,Ya6,Yd7,Bc5,Bd3,Bb9,Gb7,Gc2,Gd9.甲乙丙在检查盒子和卡牌的时候可以知道书架上的盒子。 由于甲只知颜色,乙只知内容,丙只知数字,可以根据甲乙丙的对话进行如下推断: 1°丙不知道→丙可以知道数字,而他无法判断是什么牌→盒子中数字有重复:Ral,Ra2,Rb1,Yd7,Bb9,Gb7,Gc2,Gd9符合 2°甲知道丙不知道→甲只知颜色,丙只知数字,甲可以确定丙无法判断是哪个盒子包含哪张牌→甲所选的盒子颜色中的数字,每一个都有重复:Ra1,Ra2,Rb1,Gb7,Gc2,Gd9符合 3°乙也不知道→在明白了以上信息后,凭借内容还是无法判断→剩下的牌内容还有重合:Ra1,Ra2,Rb1,Gb7符合 4°甲依旧不知道→在明白了以上信息后,凭借颜色还是无法判断→颜色有重合:Ra1,Ra2,Rb1符合 5°丙知道了→虽然一开始无法判断,但是在明白了以上信息后,凭借数字可以得到信息→数字不重合:Ra2最终得到:R(红色盒子)内的牌上的内容一定是a(死因)。 注意:以上推断需要结合对话的语境,一步一步推理得到,而不是只相对于最开始的牌型。丙的最后“知道”不代表可以推断出最后所有的牌。根据流程强调的随机性也可知,不存在推理出最后所有牌型的情况。 ②游戏流程及胜负判定: 1.可能性计算: ①理解题目中的隐藏条件: 1°根据1中内容得到,电脑“桌面”上的盒子表示为:R(a),①(?),②(?),③(?) 其中,①②③分别表示:除了R以外左数第1、2、3个盒子;()里为牌正面的内容。 2°M赢得胜利会从A穿过大厅到B,失败不会,根据场馆平面图可推出:N可以知道M的游戏结果。 3°本题关键不在于概率,而在于策略。“游戏开始前可以交流”,因此M和N可以相互交流策略,M可以告诉N自己会打开第几个盒子。“MN可以在不影响自己胜率的情况下互相帮助”也对此有所提示。 ②证明N的胜率大于M的胜率,且为100%: 1°M需要选到“a”+“b”,在确定R盒为a的后,M第一个选红色盒子R。接下来M要从剩下三个盒子中选两个,两个盒子中不一定有b。因此M胜利的可能性小于100%。 2°N需要选到“a”+“c”,N胜率为100%。必胜法可以如下: 事先两人商量方案:M选R得到a。接着,M选除R外左数第1个盒子。 如果得到b,M选除R外左数第2个盒子; 如果得到c,M选除R外左数第2个盒子; 如果得到d,M选除R外左数第3个盒子。 N观察M是否胜利,然后选R得到a。N选除R外左数第2个盒子。 如果得到c,直接获胜; 如果得到b且M胜,N指认除R外左数第1个盒子;如果得到b且M败,N指认除R外左数第3个盒子; 如果得到d且M胜,N指认除R外左数第3个盒子;如果得到d且M败,N指认除R外左数第1个盒子。 具体情况如下: ①证明M帮助N不影响自己的胜率: 可以由前面推理甲乙丙对话得到的甲抽取的是红色盒子内容为死因,其他盒子的内容,颜色,数字可以视为独立事件,被M选择的可能性是一样的,里面出现某一内容的可能性也一样。M接下来两次会在剩下的三个盒子中选择两个。无论M怎么选择,它们的概率一样。而策略的运用在这里不会影响概率,因此帮助N不会降低M获胜的可能。 1.因此施寺是胜率更高的人,胜率为100%。 |











